新機能
- ・レシーバー装着でPCにデータ転送
- ・ボタンひとつで測定値を簡単転送
- ・専用ソフトにて作動
- ・転送データはCSV化可能
テスラメータの特長
- ・約110gのハンディ型テスラメータです。
- ・バックライト付きカラー液晶を搭載し、屋外でも高い視認性を保ちます。
- ・0.01mT~1.999Tのワイドレンジ計測ができ、ピークホールド機能を装備。
- ・交流磁場の測定に最適。DC~300Hz対応。
- ・AC電源からの充電(約135分)はもちろん、単4充電池でのDC電源使用(連続6時間稼働)も可能です。

製品仕様
GV-400BAとGV-400BTはホールプロープの仕様のみが異なります。計測器本体の仕様諸元は同様です。
ご注文をいただいてから、製品組立・検査検品を開始いたします。お手元到着まで2週間ほどかかります。ご了承ください。
| 品番 | GV-400BA | GV-400BT |
|---|---|---|
| 製造元 | 日本電磁測器株式会社 | |
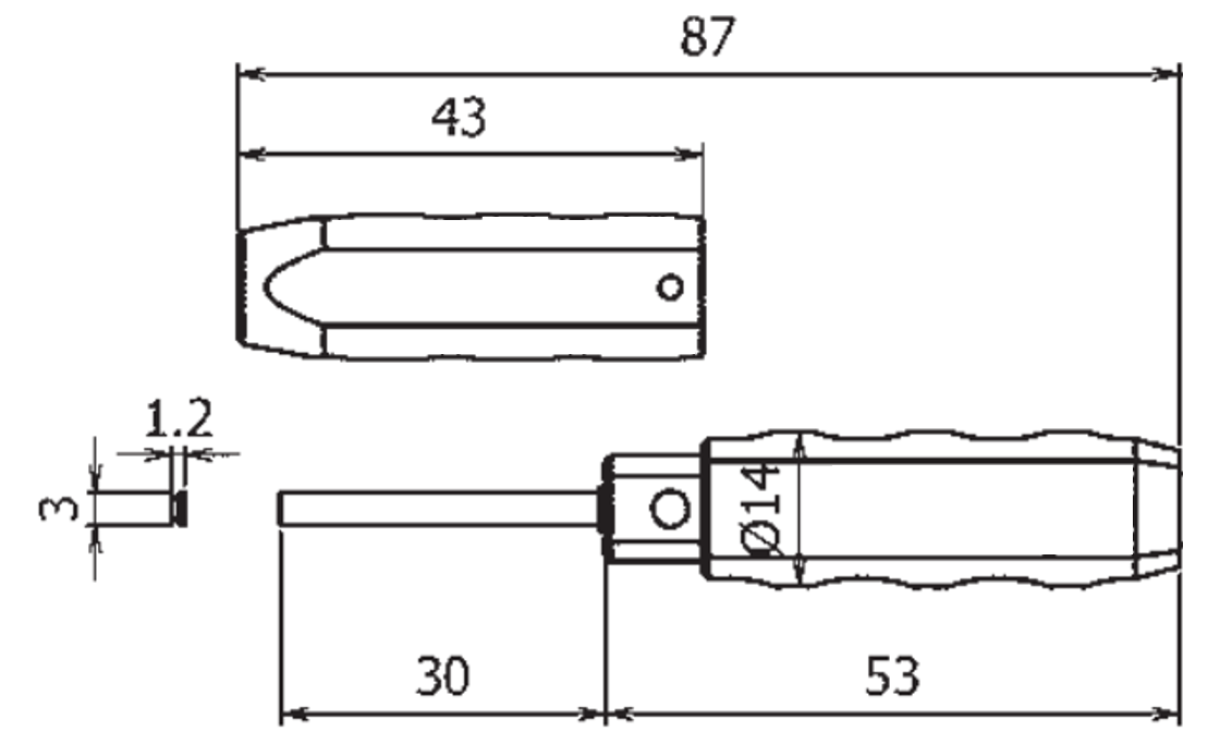
| ホールプローブ | 垂直型 | 水平型 |
| ホールプローブ形状 | ![]() |
![]() |
| ホールプローブ直線誤差 | ±2%以内 (0.5T以下) | |
| ホールプローブ温度係数 | 0.05% / ℃以下 | |
| ホールプローブ素子有効面積 | 約 0.05mm × 0.05mm | |
| 使用温度範囲 | 0 ~ 40℃ | |
| 保存温度範囲 | -10 ~ 50℃ | |
| 表示方式 | グラフィックカラーLCD (液晶)、デジタル表示 | |
| 測定磁場 | ①DC ②AC (RMS) 周波数範囲 50 ~ 300Hz | |
| 測定範囲 | 0.01mT ~ 1.999T | |
| 測定レンジ | DC測定手動式3レンジ 1. 39.99mT (レンジオーバー「40.00」点滅) 2. 399.9mT (レンジオーバー「400.0」点滅) 3. 1.999T (レンジオーバー「2.000」点滅) AC測定手動式2レンジ 1. 39.99mT (レンジオーバー「40.00」点滅) 2. 399.9mT (レンジオーバー「400.0」点滅) |
|
| 精度 | ①DC:±3% ②AC:±5% いずれもレンジのフルスケール、プローブを含まない、20℃環境にて |
|
| 機能 | 1. 最大測定値ホールド 2. プローブ交換可能 (校正データ保存機能により自動校正) 3. ゼロ調整 4. 最大測定値リセット 5. 極性判別 (DC設定時、N/S表示) 6. 電池残量表示 (3段階) 7. オートパワーオフ (未使用状態が15分間続いた時) |
|
| 電源 | 単4ニッケル水素充電池 (1.2V) × 2本 (単4乾電池×2本でも動作可能) 充電時間:約135分 満充電時連続使用時間:6時間 |
|
附属品
| ・電池 (単4ニッケル水素充電池) ※納入時に装填 | 2本 |
| ・充電器 (単4ニッケル水素充電池用) | 1台 |
| ・ホールプローブ (水平型または垂直型) | 1本 |
| ・ソフトケース (本体&プローブ用) | 1組 |
| ・取扱説明書 (保証書付) | 1部 |
| ・試験成績書 | 1部 |


